在工业生产对物料的计量过程中,困扰我们的主要有两个问题:
1、计量不准无法及时发现
以皮带秤为主的动态计量设备,除设备本身硬件发生故障外,造成其计量不准的因素有很多,连续运行的称重设备在称重发生异常时不能被及时发现,往往是根据经验判断或者定期校验时出现较大误差,再对称重设备进行维护检修,造成经济损失。
2、难以集中监控和管理
由于生产物料的计量设备分布在现场的各个区域,不便于称重设备的监控和数据的统计,造成物料管理困难。虽然现在的智能称重仪表大多带有多种通讯接口,可以实现称重数据的集中监控与数据采集,但是单一的功能无法满足日益增长的智能化需求。
3308维多利亚线路检测中心智能计量设备管理平台
3308维多利亚线路检测中心智能计量设备管理平台是由
3308维多利亚线路检测中心集团自主研发的款智能化管理计量设备的物联网平台,平台基于边缘计算、大数据技术、云计算技术为依托,将称重计量设备的数据进行采集、清洗、存储,平台自主研发的大数据模型能力,精准校准设备的称重计量数据,当称重计量数据发送异常时进行及时报警,解决了计量行业称重设备计量不准的行业难题,实现计量不准自动及时报警,成为行业的标杆。
系统实现对设备进行空秤校准、自动称重报警、远程运维、实时数据监控、设备健康检查、设备数字化化台账、维修和保养、数据可视化展现等功能,系统具备多种接口和企业的管理系统对接,适用于皮带秤、称重给料机/给煤机、配料秤、包装秤、料斗秤、汽车衡、轨道衡等称重设备进行接入管理。
管理平台主要核心功能有:
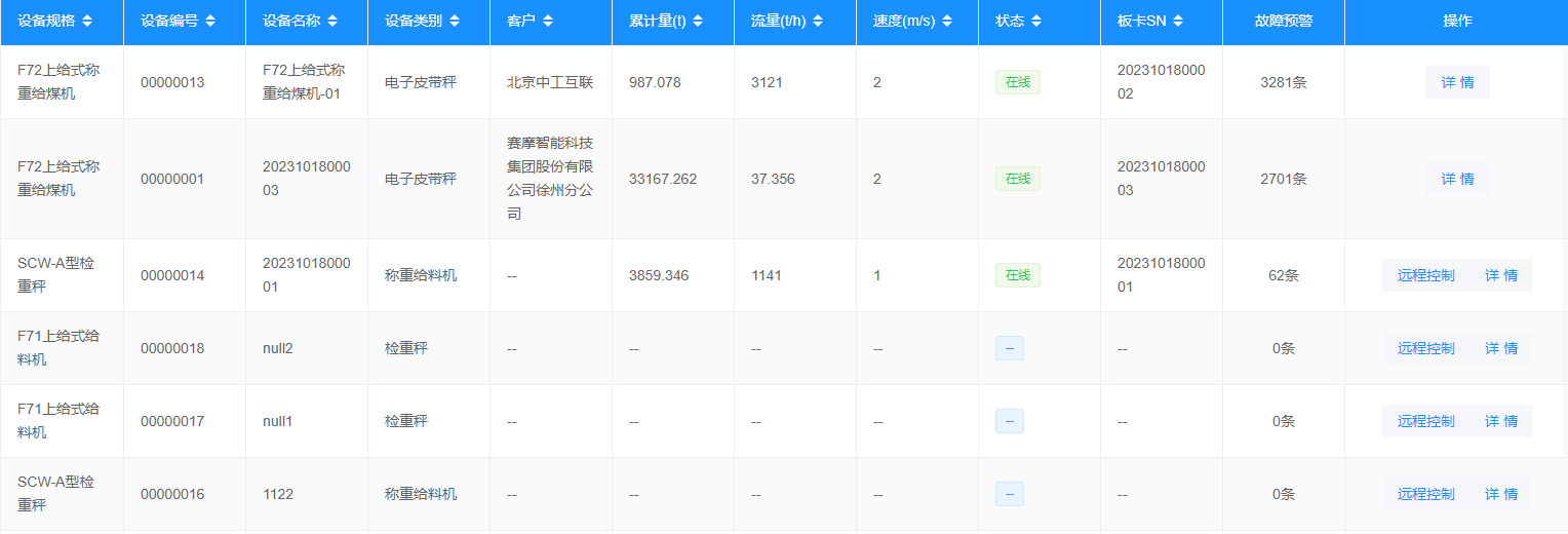
一、集中运行管理,实现称重设备的集中运行管理,集中显示各台设备状态、累积量流量等主要运行参数、告警信息等,实现多台设备、多种设备的集中运行管理功能。
二、称重异常告警,具有大数据称重分析模型,通过分析模型高效运算,在设备称重时通过大数据分析模型,自动精准检测称重异常信息,并提供告警日志(AD值、零点值、间隔值、载荷值、速度值)供工作人员进行参考决策,告警消息支持推送系统消息、微信、手机短信。
三、远程运维,用户通过电脑和APP,实现对计量设备远程管理。功能如下:
-
显示功能:显示物料的重量、流量、累计量、皮带速度等信息。
-
参数设置:设置各种参数,例如量程、皮带倾角、托辊间距、时间、班次等。
-
操作功能:进行查询、设定、校准等相关操作。
-
故障监测:实时监测皮带秤的工作状态,一旦出现故障,会自动诊断并发出报警信息。
-
自动控制:称重给料机的能够自动调节,完成定量控制。
-
历史数据:可查看实时数据、按条件查询历史数据和打印数据。
四、故障远程诊断
通过平台可以便捷地实现计量设备的就地或云(远程)管理功能,帮助维修工程师在线查看设备实时数据,进行设备故障诊断;经客户授权后,工程师可查看设备的实时或历史数据和报警,能够根据故障给出相应的解决方案,并进行远程故障处理。
五、设备台账
设备台账记录设备全生命周期管理,从设备登记、安装日期、设备技术参数、称重标准值、校准记录、告警日志、监控趋势等信息。
六、统计报表
统计报表提供班组排班计划表、班组工作累计称重量、班组设备每次运行承重量、设备每小时累计称重量、设备每次运行累计称重量。
3308维多利亚线路检测中心智能科技集团在散料称重领域具有30年的研发生产经验,先后起草了国家标准8项,皮带秤国家标准主笔起草人,电子皮带秤被工信部评为制造业单项冠军产品,拥有上百项国内外知识产权证书和相关国内外专利80余项。公司设有江苏省自动衡器工程技术研究中心和江苏省动态称重工程技术研究中心两家省研究中心。公司拥有先进的动态称重技术,包括“云联称重技术”“基于“位置差原理”的高精度稳定技术”、“阵列式高精度皮带称重技术”、“物料叠加自校准技术”、 “三组累计量检测及自动识别技术”、“自由浮动平衡结构皮带秤称重技术”。SA/ICS-ZL-8型阵列式皮带秤获得全球第一张国际法制计量组织OIML0.2级证书,精度可长期稳定保持0.2%以内,已达到商贸计量级别,填补了国际、国内散状物料高准确度计量秤的空白。